Grue tunnelier Grue tunnelier Grue tunnelier Grue tunnelier Grue tunnelier Grue tunnelier Grue tunnelier Grue tunnelier Grue tunnelier Grue tunnelier Grue tunnelier Grue tunnelier Grue tunnelier

Portique mobile de grue

Accueil / Produits / Système de grue légère / Portique mobile de grue

Portique mobile de grue

Produits

Les avantages des portiques mobiles sont leur mobilité omnidirectionnelle, leur démontage et leur installation rapides et leur encombrement minimal, leur permettant d'être déplacés vers un autre endroit à l'aide d'une mini-fourgonnette. Leur largeur et hauteur réglables, ainsi que leur structure en acier bien conçue, peuvent supporter des charges allant de 100 à 5 000 kg. Ils sont particulièrement adaptés à l'installation, à la manipulation et à la mise en service d'équipements d'atelier, au chargement et au déchargement de marchandises de véhicules et au levage de gros composants de moteurs dans les ateliers de réparation automobile.

Il existe deux principaux types de petits portiques de levage : l'un est un portique entièrement mobile avec roues porteuses freinées, adapté au levage au niveau du sol. L'autre est un portique fixe monté sur des rails sur un plancher ou une poutre, utilisant un palan électrique ou manuel pour le levage mécanisé. Cela réduit la main d’œuvre, diminue les coûts de production et d’exploitation et améliore l’efficacité du travail. Notre société peut personnaliser les produits en fonction des exigences du site client. Les palans à portique mobiles peuvent être équipés soit d'un palan à chaîne manuel, soit d'un palan électrique à chaîne, offrant une grande praticité et une technologie éprouvée, ce qui les rend très populaires auprès des fabricants.

  • Spécification
  • À propos du tunnelier
  • Contactez-nous

Modèle Soulever du poids réimensions (mm) Poids mort
kg Un B C D F G H J. K L (kG)
SRGS20 500 2000 2080 11h00-15h00 1544-2044 1876-2376 1158 2001-2501 2080 420 440 39
SRGS23 400 2300 2380 12h00-18h00 2380 40
SRGS40 250 4000 4080 27h00-35h00 4080 46
SRGM20 400 2000 2080 11h00-15h00 1548-2148 1880-2480 1215 2005-2605 2080 40
SRGM23 400 2300 2380 12h00-18h00 2380 41
SRGM40 250 4000 4080 27h00-35h00 4080 47
SRGT20 250 2000 2080 11h00-15h00 2022-2922 2354-3254 1586 2479-3379 2645 44
SRGT23 250 2300 2380 12h00-18h00 2380 45
SRGT40 250 4000 4080 27h00-35h00 4080 50
SRG1S20 1000 2000 2080 1102-1502 1490-1990 1822-2322 1242 1904-2404 2077 464 536 61
SRG1S30 1000 3000 3080 1902-2502 3077 67
SRG1S40 500 4000 4080 1902-3502 4077 73
SRG1M20 1000 2000 2080 1102-1502 1728-2428 2061-2761 1440 2143-2843 2200 65
SRG1M30 1000 3000 3080 1902-2502 3077 71
SRG1M40 500 4000 4080 1902-3502 4077 77
SRG1T20 1000 2000 2080 1102-1502 1969-2869 2301-3201 1639 2383-3283 2830 70
SRG1T30 1000 3000 3080 1902-2502 3077 76
SRG1T40 500 4000 4080 1902-3502 4077

82

Capacité de levage Modèle réimensions (mm) Poids (kg)
Stabilisateurs*2 Faisceau principal*A
Spécifications des roulettes
Hauteur du crochet D Jencrément de hauteur E Hauteur maximale du sommet de la poutre F Hauteur hors tout H Largeur G
2000
(A=3920)
S 1495-2245 5x150 2600 1931-2681 1212 68*2 9,2*A 6 pouces
M 2117-2867 5x150 3222 2553-3303 1429 75*2 9,2*A 6 pouces
Je 2232-3232 5x200 3587 2668-3668 1726 84*2 9,2*A 6 pouces
T 2747-3947 6x200 4301 3183-4383 1993 93*2 9,2*A 6 pouces
H 3195-4395 6x200 4847 3730-4930 2234 98*2 9,2*A 6 pouces
L 3585-4785 6x200 5347 4230-5430 2557 105*2 9,2*A 6 pouces
K 3686-5286 8x200 5848 4330-5930 2733 111*2 9,2*A 6 pouces
B 3869-5669 9x200 6149 4431-6231 2733 115*2 9.2*A 6 pouces
3000
(A=3920)
5 1545-2295 5x150 2698 2029-2779 1212 71*2 11*A 8 pouces
M 2167-2917 5x150 3320 2651-3401 1429 78*2 11*A 8 pouces
Je 2282-3282 5x200 3685 2766-3766 1726 87*2 11*A 8 pouces
T 2797-3997 6x200 4399 3281-4481 1993 95*2 11*A 8 pouces
H 3245-4445 6x200 4847 3730-4930 2234 101*2 11*A 8 pouces
L 3745-4945 6x200 5347 4230-5430 2557 107*2 11*A 8 pouces
K 3846-5446 8x200 5848 4330-5930 2733 113*2 11*A 8 pouces
B 4029-5829 9x200 6231 4513-6313 2733 119*2 11*A 8 pouces
5000
(A=3920)
Je 2143-3143 5x200 3592 2717-3717 1736 108*2 15*UNE 8 pouces
T 2838-4038 6x200 4487 3412-4612 2059 120*2 15*A 12 pouces
H 3289-4489 6x200 4938 3862-5060 2234 125*2 15*A 12 pouces
L 3789-4989 6x200 5438 4362-5562 2557 131*2 15*A 12 pouces

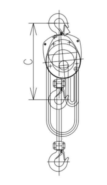
Palan manuel à chaîne (référence)
Charge (kg) C(mm) Poids (kg)
250 290 4
500 350 9
1000 380 12
2000 460 19
3000 570 27
5000 700 43

Palan électrique (référence)
Charge (kg) C(mm) Vitesse de levage (m/min) Poids (kg)
250 410 8/2 24
500 490 8/2 31
1000 430 4/1 35
2000 615 4/1 65
3000 730 4/1 140
5000 760 4/1 150

Accessoires en option

Pour type SRG
Numéro de série Nom Image
SRG0006 treuil 0,5t
SRG1006 1t treuil
SRG0007
SRG1007
Support rigide
SRG0008
SRG1008
Assistance flexible
SRG1010 Type PRG1
SRG0016
SRG1016
Sangle d'arrimage

Pour type SG
Numéro de série Nom Image
SG2006
SG3006
SG5006
Chariot amovible
SG 2008
SG 3008
SG5008
Chariot zippé à main
SG 0002 Distribution d'énergie sur chariot
SG 2010
SG3010
SG5010
Jambes de support
SG 2012
SG 3012
SG5012
Roulettes auxiliaires
SG 2016
SG 3016
SG5016
Type de monocycle
Zhejiang Shuangniao Lifting Equipment Co., Ltd. est une entreprise d'équipements spéciaux spécialisée dans la recherche et le développement, la production, la commercialisation et le service après-vente de palans électriques à câble. Depuis sa création, l'entreprise attache une grande importance au développement de nouveaux produits et à l'innovation technologique, et se concentre sur des points de départ élevés et des configurations élevées. Dans la recherche et le développement de palans électriques, tout en introduisant continuellement des technologies de pointe étrangères, il développe activement la recherche et le développement de nouveaux palans électriques de style européen et établit le concept de base de « l'innovation mène l'avenir, se concentre sur la réalisation du merveilleux », qui est devenu la girouette du développement des palans électriques nationaux et mène le développement de l'industrie nationale des palans électriques.
[#entrée#]
À propos de nous
Zhejiang Shuangniao Lifting Equipment Co., Ltd.
Zhejiang Shuangniao Lifting Equipment Co., Ltd.

Zhejiang Shuangniao Lifting Equipment Co., Ltd. est une entreprise d'équipements spéciaux spécialisée dans la recherche et le développement, la production, la commercialisation et le service après-vente de palans électriques à câble. Depuis sa création, l'entreprise attache une grande importance au développement de nouveaux produits et à l'innovation technologique, et se concentre sur des points de départ élevés et des configurations élevées. Dans la recherche et le développement de palans électriques, tout en introduisant continuellement des technologies de pointe étrangères, il développe activement la recherche et le développement de nouveaux palans électriques de style européen et établit le concept de base de « l'innovation mène l'avenir, se concentre sur la réalisation du merveilleux », qui est devenu la girouette du développement des palans électriques nationaux et mène le développement de l'industrie nationale des palans électriques.

Actualités